Zum Hauptinhalt springen

fischer ZYKON-Einschlaganker FZEA II 10 x 40 M 8

fischer ZYKON-Einschlaganker FZEA II 10 x 40 M 8

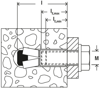
Der fischer ZYKON-Einschlaganker FZEA II ist ein Innengewindeanker aus galvanisch verzinktem Stahl. Mit dem Spezialbohrer FZUB wird in einem Arbeitsgang das hinterschnittene Bohrloch erstellt. Der Hinterschnittanker wird in der zeitsparenden Durchsteckmontage gesetzt. Mit dem Setzwerkzeug FZED Plus wird die Spreizhülse durch das Einschlagen des innen liegenden Spreizstifts über den Konus getrieben. Dieser füllt das hinterschnittene Bohrloch formschlüssig aus. Der fischer ZYKON-Einschlaganker FZEA II ist für Einzelbefestigungen von Rohrleitungen, abgehängten Decken und Sprinkleranlagen im Innenbereich in gerissenem Beton geeignet.

  • Schnelle Schlagmontage.
  • Maximale Sicherheit durch formschlüssige Verbindung.
  • Hohe Flexibilität durch Verwendung handelsüblicher metrischer Schrauben und Gewindestangen.
  • Hinterschnittbohrung ohne Werkzeugwechsel. Das spart Zeit und Kosten.
  • ETA-Zulassung für gerissenen Beton und Feuerwiderstandsklasse R 120.

G9

  • Einschlaganker mit ZYKON-Hinterschnitttechnik für die Einzelbefestigung in gerissenem und ungerissenem Beton.
  • Die Kombination aus Einschlag- und ZYKON-Hinterschnittanker ermöglicht die Einzelbefestigung in gerissenem Beton.
  • Die spezielle ZYKON-Hinterschnitttechnik reduziert die Setzenergie für eine kräfteschonende Montage.
  • Der Spezialbohrer FZUB ermöglicht eine schnelle Montage durch die Erstellung des Hinterschnitts ohne Werkzeugwechsel.
  • Die beim Verspreizen des Ankers aufgebrachte Prägung sichert die einfache Kontrolle der Verankerung.
  • Die nahezu spreizdruckfreie Installation des Ankers ermöglicht kleine Achs- und Randabstände und damit eine flexible Verwendung.

  • Der FZEA II ist für die Vorsteckmontage geeignet.
  • Das hinterschnittene Bohrloch wird mit dem Spezialbohrer FZUB erstellt.
  • Nach dem Einsetzen des Ankers in das Bohrloch wird die Spreizhülse durch das Eintreiben des innen liegenden Spreizstiftes mit dem Setzwerkzeug FZED Plus aufgespreizt und das hinterschnittene Bohrloch formschlüssig ausgefüllt.

geeignet für

Zugelassen für:
  • Beton C20/25 bis C50/60, gerissen und ungerissen
  • Beton C12/15
  • Naturstein mit dichtem Gefüge

Anwendung

  • Rohrleitungen
  • Lüftungsleitungen
  • Sprinkleranlagen
  • Kabeltrassen
  • Abgehängte Decken
Eigenschaften "fischer ZYKON-Einschlaganker FZEA II 10 x 40 M 8"
Abstandsmontage: Nein
Ankerlänge: 43 mm
Antrieb: sonstige
Anzahl der Muttern: 0
Anzahl der Scheiben: 0
Art der Befestigung/Montage: sonstige
Ausführung (etim): Außengewinde
Befestigung mit Spreizwerkzeug: Ja
Bohrernenndurchmesser: 10 mm
Breite: 90,00 mm
Durchsteckmontage: Nein
Geeignet für Betonhohldiele: Nein
Geeignet für gerissenen Beton: Ja
Geeignet für ungerissenen Beton: Ja
Gewicht: 1549,00 gr
Gewindeart: metrisch
Gewindemaß (mm): 8 mm
Gewindemaß imperial: #8
Höhe: 90,00 mm
Innengewinde: M8
Kollektion: FZEA II
Länge: 180,00 mm
Material: Galvanisch verzinkter Stahl
Max. Einschraubtiefe: 17 mm
Min. Bohrlochtiefe: 43 mm
Min. Einschraubtiefe: 11 mm
Mit Kragen: Nein
Oberflächenschutz: galvanisch/elektrolytisch verzinkt
Oberflächenschutz der Hülse: galvanisch/elektrolytisch verzinkt
Profi / DIY: Profi
Prüfzeichen: Brandschutz-Klassifizierung
Typbezeichnung: Hinterschnittanker
Umgebung: Innenbereich
Verankerung: Spreizanker
Verankerungstiefe: 40 mm
Verpackungsvariante: Faltschachtel
Volumen: 1458,00 cm³
Vorsteckmontage: Ja
Werkstoff (ETIM): Stahl
Werkstoff Hülse: Stahl
Werkstoffgüte der Hülse: sonstige
Zugehöriger Bohrer FZUB: 10 x 40
Zugehöriges Setzwerkzeug: FZED 10 plus

Ähnliche Artikel

fischer Bolzenanker FAZ II Plus 8/10 gvz galvanisch verzinkt
Für höchste Ansprüche. Kraftvoll und flexibel.
6 Varianten verfügbar
Der fischer Bolzenanker FAZ II Plus ist der Stahlanker für höchste Ansprüche mit hohen Quertragfähigkeiten und breitem Anwendungsfeld. Mit dem Stahlanker werden schwere Lasten in gerissenem Beton befestigt. Der FAZ II Plus kann durch Wegfall der Bohrlochreinigung einfacher und schneller gesetzt werden (M8-M24). Der bewährte Spreizclip leitet die Lasten sicher in den Beton ein und ermöglicht eine sofort belastbare, hohe Tragfähigkeit. Ideal ist der Stahlanker beispielsweise für die Verankerung von Geländern, Kabeltrassen und Konsolen.Schnelle und einfache Montage ohne Bohrlochreinigung (M8-M24).Entscheidende Erhöhung der Quertragfähigkeit durch die neue Bewertung (ETA) - weniger Befestigungspunkte und kleinere Ankerplatten sparen Zeit und Kosten.Millimetergenaues Anpassen an die Lasten durch die variablen Verankerungstiefen.Höchste seismische Lasten der Leistungskategorie C1 mit und ohne die Verwendung der Verfüllscheibe FFD.G9Schnelle und einfachere Montage ohne Bohrlochreinigung (M8-M24).Zahlreiche Prüfgutachten für unterschiedliche Untergrundmaterialien (Beton C12/15-C80/95, Stahlfaserbeton (aBG), Kalksandvollstein) erhöhen die Anzahl der Einsatz- und Anwendungsfelder.Mit der neuen Bewertung (ETA) erhöhen sich die Quertragfähigkeiten entscheidend. Dadurch werden weniger Befestigungspunkte und Anker benötigt.Die ETA Bewertung stellt zusammen mit weiteren Prüfgutachten (RWS, ZTV, ETK) hohe Lasten im Brandfall sicher.Die variablen Verankerungstiefen ermöglichen ein millimetergenaues Anpassen an die Lasten.Der FAZ II Plus ermöglicht die Aufnahme von hohen seismischen Lasten der Leistungskategorie C1 für die Durchmesser M10-M24 mit und ohne Verwendung der Verfüllscheibe FFD bei der Installation.Der FAZ II Plus ist geeignet für die Vor- und Durchsteckmontage und durch das lange Gewinde auch optimal für Abstandsmontagen.Beim Anziehen der Mutter wird der Konusbolzen in den Spreizclip gezogen und verspannt diesen gegen die Bohrlochwand.Bei Erreichen des vorgegebenen Drehmoments ist der Anker zulassungskonform gesetzt.Bei Serienmontage empfehlen wir die Verwendung der Bolzenanker-Setzwerkzeuge FABS bzw. FA-ST II.Im Falle von seismischen Anforderungen kann der Ringspalt mithilfe der Verfüllscheibe FFD verfüllt werden.geeignet fürZugelassen für:Beton C20/25 bis C50/60, gerissen und ungerissenBeton C12/15 (Gutachten vorhanden)Beton C80/95 (Gutachten vorhanden)Stahlfaserbeton (aBG vorhanden)Kalksandvollstein (KSV) (Gutachten vorhanden)AnwendungStahlkonstruktionenGeländerKonsolenLeiternKabeltrassenMaschinenTreppenFassadenHolzkonstruktionen

Inhalt: 2 Pack (0,00 €* / 1 Pack)

0,00 €*
fischer ZYKON-Bolzenanker FZA 10 x 40 M 6 / 10
Das Befestigungssystem mit höchster Sicherheit in gerissenem Beton.
8 Varianten verfügbar
Der fischer ZYKON-Bolzenanker FZA ist ein Anker aus galvanisch verzinktem Stahl. Mit dem Spezialbohrer FZUB wird in einem Arbeitsgang das hinterschnittene Bohrloch erstellt. Der Hinterschnittanker wird in der Vorsteckmontage gesetzt. Mit dem Setzwerkzeug FZE Plus wird die Spreizhülse über den Konus getrieben und füllt das hinterschnittene Bohrloch formschlüssig aus. Der fischer ZYKON-Bolzenanker FZA ist ideal, um Stahlkonstruktionen, Geländer und Maschinen im Innenbereich in gerissenem Beton zu befestigen.Maximale Sicherheit durch formschlüssige Verbindung.Geringe Rand- und Achsabstände durch spreizdruckfreie Installation.Schnelle Montage ohne Werkzeugwechsel. Das spart Zeit und Kosten.Kräfteschonende Montage mit geringer Setzenergie.ETA-Zulassung für gerissenen Beton und Feuerwiderstandsklasse R 120.G9Die spezielle ZYKON-Hinterschnitttechnik ermöglicht eine formschlüssige Verbindung und sorgt für maximale Sicherheit auch in großen Rissen.Die nahezu spreizdruckfreie Installation des Ankers ermöglicht kleine Achs- und Randabstände und damit eine flexible Verwendung.Der Spezialbohrer FZUB ermöglicht eine schnelle Montage durch die Erstellung des Hinterschnitts ohne Werkzeugwechsel.Die Bohrlochgeometrie sorgt für eine sehr geringe Setzenergie und so für eine kräfteschonende Montage.Der FZA ist für die Vorsteckmontage geeignet.Das hinterschnittene Bohrloch wird mit dem Spezialbohrer FZUB erstellt.Nach dem Einsetzen des Ankers in das Bohrloch wird die Spreizhülse mit dem Setzwerkzeug FZE Plus über den Konus getrieben und das hinterschnittene Bohrloch formschlüssig ausgefüllt.geeignet fürZugelassen für:Beton C20/25 bis C50/60, gerissen und ungerissenBeton C12/15Naturstein mit dichtem GefügeAnwendungStahlbaukonstruktionenGeländerKonsolenMaschinenTreppenToreFassaden

Inhalt: 25 Pack (0,00 €* / 1 Pack)

0,00 €*
fischer Bolzenanker FBN II 8/5
Die wirtschaftliche Befestigung für den flexiblen Einsatz in ungerissenem Beton.
38 Varianten verfügbar
Der fischer Bolzenanker FBN II ist ein Stahlanker für wirtschaftliche Befestigungen in ungerissenem Beton. Dank des langen Gewindes und der zwei Verankerungstiefen ist der fischer Bolzenanker FBN II besonders flexibel einzusetzen. Neben der Vorsteck- und der Durchsteckmontage ist der Bolzenanker auch für die Abstandsmontage geeignet. In der Ausführung aus galvanisch verzinktem Stahl ist der Bolzenanker für Geländer, Kabeltrassen, Konsolen im Innenbereich geeignet.Mit der Standardverankerungstiefe erreicht der FBN II höchste Tragfähigkeit. Das bedeutet: weniger Befestigungspunkte und kleinere Ankerplatten.Wird die reduzierte Verankerungstiefe genutzt, verringert das die Bohrlochtiefe und vereinfacht die Montage.Mit dem langen Gewinde werden Bauteiltoleranzen ausgeglichen. Zudem ist der FBN II für Abstandsmontagen geeignet. Dies erhöht die Flexibilität.Einfache Montage durch wenige Hammerschläge und minimalen Schlupf.G9Die Standardverankerungstiefe erreicht höchste Tragfähigkeiten. Dadurch werden weniger Befestigungspunkte und kleinere Ankerplatten benötigt.Die reduzierte Verankerungstiefe verringert die Bohrlochtiefe. Dies vermindert den Montageaufwand und erhöht die Flexibilität.Das lange Gewinde ermöglicht den Ausgleich von Bauteiltoleranzen und Abstandsmontagen und erhöht so die Flexibilität.Wenige Hammerschläge und der minimale Anzugsschlupf sorgen für eine spürbar einfache Montage.Der Einschlagzapfen schützt das Gewinde vor Beschädigungen und sorgt so für ein zeitsparendes Montieren und Demontieren des Anbauteils.Der FBN II ist geeignet für die Vor- und Durchsteckmontage. Bedingt auch für die Abstandsmontage.Vor der Montage die Sechskant-Mutter in die optimale Position bringen. (Der Einschlagzapfen steht ca. 3 mm aus der Sechskant-Mutter hervor).Beim Aufbringen des Drehmoments wird der Konusbolzen in den Spreizclip gezogen und verspannt diesen gegen die Bohrlochwand.Die Kopfprägung ermöglicht eine einfache Kontrolle der Verankerung.Bei Serienmontage empfehlen wir die Verwendung des Bolzenanker-Setzwerkzeugs FABS.geeignet fürZugelassen für:Beton C20/25 bis C50/60, ungerissenBeton C12/15Naturstein mit dichtem GefügeAnwendungStahlkonstruktionenGeländerKonsolenLeiternMaschinenToreFassaden

Inhalt: 10 Pack (0,00 €* / 1 Pack)

0,00 €*
Magnetband EICHNER
Magnetband Band-B.20mm Band-L.10m rot EICHNER
3 Varianten verfügbar
zur Kennzeichnung von Regalen, Behältern usw. · magnetisierte Bänder · beschriftbar und individuell zuschneidbar · Bandstärke 0,9 mm · Bandlänge 10 m · Lieferung in Rollen Weitere technische Eigenschaften: · Bandstärke: 0,9mm

31,75 €*
fischer Innengewindeanker RG 8 x 75 M5 I
Das Befestigungssystem mit Innengewindeanker für gerissenen und ungerissenen Beton.
7 Varianten verfügbar
Der fischer Innengewindeanker RG M I wird aus galvanisch verzinktem Stahl hergestellt. Der Innengewindeanker ist ein Systemzubehör für die verschiedenen fischer Mörtelpatronen oder Injektionsmörtel. Für Einzelbefestigungen ist die Anwendung mit der vorportionierten Mörtelpatrone besonders wirtschaftlich. Bei der Montage mit der Mörtelpatrone wird die RG M I mit einem Bohrhammer drehend-schlagend gesetzt. Beim Setzvorgang wird die Mörtelpatrone zerstört, durchmischt und aktiviert die Mörtelmasse. Bei der Montage mit den Injektionsmörteln wird der Innengewindeanker von Hand unter leichten Drehbewegungen in das Borhloch geschoben. Die verschiedenen Mörtel verkleben den RG M I vollflächig mit der Bohrlochwand. Der Innengewindeanker kann oberflächenbündig demontiert werden und ist vor allem für temporäre Befestigungen, beispielsweise von Maschinen, im Innenbereich geeignet.Oberflächenbündige Demontage ermöglicht Wiederverwendung des Befestigungspunktes.Handelsübliche Schrauben und Gewindestangen können verwendet werden. Dies reduziert Kosten und Komplexität.ETA-Zulassung für maximale Sicherheit.In Kombination mit den verschiedenen Mörtelpatronen oder Injektionsmörtel zugelassen für Verankerung in gerissenem und ungerissenem Beton.G9Das System aus Innengewindeanker RG M I und einem der Injektionsmörtel FIS V Plus, Montagemörtel FIS VL oder FIS V Zero für Beton kann je nach Anforderung individuell ausgewählt werden und ermöglicht dadurch ein breites Anwendungsspektrum.Der Innengewindeanker RG MI ermöglicht die oberflächenbündige Demontage und Wiederverwendung des Befestigungspunktes. Er bietet dadurch optimale Flexibilität.Das metrische Innengewinde erlaubt die Verwendung handelsüblicher metrischer Schrauben oder Ankerstangen für die ideale Anpassung an die Anwendung.Bitte beachten Sie die Zulassungen der jeweiligen Reaktionspatronen bzw. InjektionsmörtelBei Verwendung in Verbindung mit Reaktionspatronen:Der Innengewindeanker RG MI wird mit einem Bohrhammer und dem zugehörigen Setzwerkzeug drehend-schlagend gesetzt.Beim Setzvorgang zerstört die Dachschräge des Innengewindeankers die Patrone, durchmischt und aktiviert den Mörtel.Bei Verwendung in Verbindung mit Injektionsmörteln:Das Setzen des RG M I erfolgt von Hand unter leichter Drehbewegung bis zum Bohrlochgrund.Der Mörtel verklebt den Innengewindeanker vollflächig mit der Bohrlochwand und dichtet das Bohrloch ab.geeignet fürBeton, gerissen und ungerissenAnwendungDemontierbare und temporäre BefestigungenVerankerungen mit Reaktionspatronen RSB und RM II (ohne Zulassung)Verankerungen mit Injektionsmörteln FIS SB, FIS EM, FIS V, FIS VL und FIS Green in Beton (ohne Zulassung)

Inhalt: 10 Pack (0,00 €* / 1 Pack)

0,00 €*
Schraubenbolzen DIN 2510 m.Dehnschaft/2Muttern Mu 1.7709 1 Stück
Schraubenbolzen DIN 2510 Dehnschaft/2Muttern LM 12x 65 Mu 1.7709 1 Stück
74 Varianten verfügbar
DIN 2510 Mu 1.7709 Form L AD W7 Schraubenbolzen mit Dehnschaft · mit langem Gewinde · mit 2 Muttern - Abmessung: LM 16 x 75 VE=S (1 Stück) Weitere technische Eigenschaften: · Gruppencode: 02510.304

Varianten ab 3,86 €*
4,41 €*
fischer Verblendsanieranker VBS-M 8 x 120 R nichtrostender Stahl
Die schnelle Verblendsanierung aus nicht rostendem Stahl von zweischaligem Mauerwerk.
7 Varianten verfügbar
Der fischer Verblendsanieranker VBS-M ist ein mechanisches System zur nachträglichen bauaufsichtlich zugelassenen Befestigung von Verblendmauerwerk mit und ohne Luftschicht. Das System besteht aus einer Kunststoffhülse mit einer zweifachen Spreizzone und einer Schraube aus nicht rostendem Stahl. Der VBS-M wird in der zeitsparenden Durchsteckmontage in der Tragschale und im Verblendmauerwerk gesetzt. Die zwei Spreizzonen des Dübels schaffen in der Tragschale und in der Vorschale eine sichere Befestigung. Denn erst wenn der Dübel in der Tragschale greift, wird dieser im Verblendmauerwerk fixiert. Der fischer Verblendsanieranker VBS-M ist vor allem für die schnelle Verblendsanierung von zweischaligem Mauerwerk geeignet, auf das nachträglich ein Wärmedämmverbundsystem angebracht wird.Hohe Flexibilität durch zugelassene Befestigung in den Fugen und im Verblendmauerwerk.Wirtschaftliche Montage durch geringe Verankerungstiefe.Versenkte oder oberflächenbündige Montage durch kleinen Dübelrand und kleinem Schraubenkopf möglich.Unsichtbare Montage durch spätere Verfugung des Bohrloches.Keine Frost- und Korrosionsschäden durch Wasserabtropfwendel.G9Die zugelassene Befestigung im Stein und in der Fuge ab 50 mm Verblendmauerwerk sorgt für ein hohes Maß an Flexibilität und Sicherheit.Die Anwendung in der Fuge und eine geringe Verankerungstiefe von nur 50 mm erlauben eine schnelle und wirtschaftliche Montage.Eine oberflächenbündige bzw. tiefer gesetzte Montage ist durch den kleinen Dübelrand und den kleinen Schraubenkopf möglich.Das Bohrloch kann nachträglich verfugt werden und ist somit in der Fassade nicht mehr sichtbar.Eine Wasserabtropfwendel verhindert das Ablaufen von Kondenswasser in die Tragschale und schützt somit vor Frostschäden und ggf. Korrosionsschäden.Der Verblendsanieranker VBS-M wird in Durchsteckmontage in der Tragschale und im Verblendmauerwerk gesetzt.Gemäß Zulassung ist keine Bohrlochreinigung notwendig.Die zwei Spreizzonen des Dübels in der Tragschale und im Verblendmauerwerk sorgen für eine sichere Verbindung.Erst wenn der Dübel in der Tragschale greift, erfolgt die Fixierung im Verblendmauerwerk. Dies sorgt für eine optimale Montagesicherheit.geeignet fürVerblendmauerwerk mit und ohne LuftschichtAnwendungAnwendung vor allem dort, wo nach der Verblendsanierung ein Wärmedämmverbundsystem aufgebracht wird.Nachträgliche Sanierung von zweischaligem Mauerwerk gemäß Zulassung Z-21.2-1956.

Inhalt: 100 Pack (2,86 €* / 1 Pack)

Varianten ab 265,10 €*
285,70 €*
Objektband 20 mm DIN links / rechts BSW
Objektband VA ma geschl.200kg 20mm DIN L/R gef.Tür m.Falzdichtung BSW
4 Varianten verfügbar
für gefälzte Türen, für alle 3D-Zargenkonstruktionen VZX (VX), verdeckt liegende, axiale und radiale wartungsfreie Gleitlagerung, DIN links und rechts verwendbar durch verschraubte Bandachse mit Verdrehsicherung Weitere technische Eigenschaften: · Materialstärke: 3mm · Andruck verstellbar: +/- 3mm

Varianten ab 11,34 €*
16,31 €*
fischer Bohrer SDS Max IV 35 / 1620 / 1740
Der Hammerbohrer mit SDS Max-Aufnahme.
40 Varianten verfügbar
Die fischer Hammerbohrer SDS Max IV sind hochwertige Bohrer mit 4 Hartmetallschneiden und SDS-Max -Aufnahme. Die SDS-Max-Aufnahme sorgt für eine optimale Kraftübertragung und ermöglicht schnellen Bohrfortschritt bei großvolumigen und tiefen Bohrlöchern. Die Hammerbohrer zeichnen sich durch die innovativen Produkteigenschaften der fischer Hammerbohrer Quattric und Pointer aus. Das PGM®-konforme Schneideelement garantiert die Erstellung zulassungskonformer Bohrlöcher. Die 4-gängige Bohrwendel transportiert das Bohrmehl zuverlässig aus dem Bohrloch und reduziert somit den Verschleiß.Vierschneidiger Bohrkopf.Einteiliges Schneidelement aus Vollhartmetall.Zentrierspitze.Viergängige Bohrwendel.PGM®-konformes Schneideelement.G9Die SDS-Max-Aufnahme sorgt für eine optimale Kraftübertragung und ermöglicht schnellen Bohrfortschritt bei großvolumigen Bohrlöchern.Zweischneidiger Bohrkopf mit Zentrierspitze für einfaches und punktgenaues Anbohren.Die 2-gängige Bohrwendel transportiert das Bohrmehl zuverlässig aus dem Bohrloch und reduziert somit den Verschleiß.Die kernverstärkte Bohrwendel sorgt für maximale Energieübertragung und gewährleistet ein vibrationsarmes Bohrverhalten.Das PGM®-konforme Schneideelement garantiert passgenaue Bohrlöcher und erfüllt höchste Sicherheitsansprüche.Der Hammerbohrer mit SDS Max-Aufnahme ist speziell für große und tiefe Bohrlöcher geeignet.geeignet fürAnwendungZur Erstellung von zulassungskonformen Bohrlöchern in:Stahlbeton (SDS Max IV)BetonVollziegelKalksandsteinAuch geeignet für:Naturstein

Varianten ab 0,00 €*
39,77 €*
fischer Highbond-Anker FHB II - A L M 8 x 60 / 10 nicht rostender Stahl R
Höchstleistung in gerissenem Beton für maximale Zuglasten - auch im Außenbereich.
29 Varianten verfügbar
Die fischer Highbond-Ankerstange FHB II-A L R ist aus nicht rostendem Stahl gefertigt. Der kraftkontrolliert spreizende Verbundanker kann mit dem Highbond-Spezialmörtel FIS HB oder den Mörtelpatronen FHB II-P und FHB II-PF HIGH SPEED verarbeitet werden. Beim Anziehen der Sechskantmutter werden die Konen der Ankerstange in die Mörtelschale gezogen, die sich gegen die Bohrlochwand verspannt. Mit dem fischer Highbond-System FHB II werden zum Beispiel Fassaden, Siloanlagen und schwere Stahlkonstruktionen im Außenbereich sicher befestigt.Maximale Lastwerte durch große Verankerungstiefe. Damit werden weniger Befestigungspunkte und kleinere Ankerplatten benötigt.Optimiert für geringe Achs- und Randabstände in gerissenem Beton.Bei Verwendung mit Mörtelpatrone keine Bohrlochreinigung notwendig. Dies spart Zeit.ETA-Zulassung für gerissenen Beton.Aus nicht rostendem Stahl für Befestigungen im Außenbereich.G9Aufgrund der großen Verankerungstiefe der Ankerstange FHB II-A L erreicht das System maximale Lastwerte. Somit werden weniger Befestigungspunkte und kleinere Ankerplatten erforderlich.Die Konengeometrie der Ankerstangen FHB II-A L ist speziell optimiert für hohe Zuglastwerte. Dadurch wird höchste Leistungsfähigkeit in gerissenem Beton erzielt.Die Ankerstange FHB II-A L ist sowohl für die Verwendung mit Patrone als auch mit Injektionsmörtel zugelassen. Das garantiert maximale Flexibilität in der Anwendung.Die Bohrlochreinigung kann entfallen, wenn die Ankerstange FHB II-A L in Kombination mit der Patrone FHB II-P/-PF verarbeitet wird. Das spart wertvolle Montagezeit.Bei Verwendung von FHB II-A L in Verbindung mit dem Injektionsmörtel FIS HB ist die Durchsteckmontage mittels Ringspaltverfüllung ohne weitere Hilfsmittel möglich.Der FHB II-A L ist ein kraftkontrolliert spreizender Verbundanker für die Vorsteck- und Durchsteckmontage.Beim FHB II-A L ist der Ringspalt bei der Durchsteckmontage mit dem Highbond-Spezialmörtel FIS HB zu verfüllen.Die Ankerstange kann wahlweise mit Highbond-Spezialmörtel FIS HB oder Patrone FHB II-P / FHB II-PF HIGH SPEED gesetzt werden und wird vollflächig im Bohrloch verklebt.Beim Anziehen der Sechskantmutter werden die Konen der Ankerstangen in die Mörtelschale gezogen, die sich gegen die Bohrlochwand verspannt.Bei Verwendung der Mörtelpatrone wird die Ankerstange mit einem Bohrhammer drehend-schlagend gesetzt. Dazu das Setzwerkzeug RA-SDS, Art. Nr. 62420, verwenden.geeignet fürZugelassen für:Beton C20/25 bis C50/60, gerissen und ungerissenBeton C12/15AnwendungGeländerFassadenTreppenStahlkonsolenMaschinenMastenRammschutzStahlbaukonstruktionenHolzbaukonstruktionen

Inhalt: 10 Pack (0,00 €* / 1 Pack)

0,00 €*
Kugellagerabziehersatz K-70 KUKKO
Kugellagerabziehersatz K-70 21tlg.Spannber.37-100mm KUKKO
3 Varianten verfügbar
Pullpo · zum einfachen und schnellen Abziehen von Rillen-Kugellagern, die gleichzeitig auf einer Welle und in einem Gehäuse sitzen · das Rillen-Kugellager wird zerstörungsfrei ohne Ausbau der Welle abgezogen · Besondere Produktvorteile: · der Abzieher ist selbstspannend · einfache, selbsterklärende Anwendung · einfaches Einhängen der Abzughaken mit 90° Drehbewegung in der Traverse · sichere und formschlüssige Verbindung der Abzughaken mit der Traverse · nur noch zwei Abzughakenformen erforderlich, welche zur besseren Unterscheidung farblich gekennzeichnet sind · gefräste, seitliche Hakenflächen sorgen für eine optimale Hakenausrichtung zur Traverse · Magnete unterhalb der Traverse sorgen für eine einfache Montage der Abstützringe am Kugellager · Bund des Spindelkopfs verhindert das Abrutschen des Schlüssels Weitere technische Eigenschaften: · Verpackung: L-Boxx®

Varianten ab 500,02 €*
719,13 €*
fischer Highbond-Anker FHB II-A S M10 x 60/10 nicht rostender Stahl R
Höchstleistung in gerissenem Beton bei geringstem Montageaufwand - auch im Außenbereich.
23 Varianten verfügbar
Die fischer Highbond-Ankerstange FHB II-A S R ist aus nicht rostendem Stahl hergestellt. Der kraftkontrolliert spreizende Verbundanker kann mit dem Highbond-Spezialmörtel FIS HB oder den Mörtelpatronen FHB II-P und FHB II-PF HIGH SPEED verarbeitet werden. Beim Anziehen der Sechskantmutter werden die Konen der Ankerstange in die Mörtelschale gezogen, die sich gegen die Bohrlochwand verspannt. Mit dem fischer Highbond-System FHB II werden Fassaden, Geländer und Stahlkonstruktionen im Außenbereich sicher befestigt.Reduzierte Verankerungstiefe verringert den Aufwand beim Bohren und Montieren. Dies spart Kosten.Durchsteckmontage ohne Hilfsmittel. Dies spart Zeit.Optimiert für geringe Achs- und Randabstände in gerissenem Beton.Bei Verwendung mit Mörtelpatrone keine Bohrlochreinigung notwendig. Dies spart Zeit.Aus nicht rostendem Stahl für Befestigungen im Außenbereich.G9Die reduzierte Verankerungstiefe der FHB II-A S verringert den Bohr- und Montageaufwand. Zusätzlich erspart die Kombination mit der Patrone FHB II-P/-PF die Bohrlochreinigung und ermöglicht somit eine besonders wirtschaftliche und zeitsparende Befestigung.Bei der Ankerstange FHB II-A S ist der Bohrdurchmesser gleich dem Gewindedurchmesser. Das ermöglicht die Durchsteckmontage ohne Hilfsmittel und reduziert den Mörtelverbrauch.Die Konengeometrie der Ankerstangen FHB II-A S ist optimiert für kleine Achs- und Randabstände in gerissenem Beton sowie dünne Betonbauteile. Dadurch ist sie für ein breites Anwendungsfeld geeignet.Die Ankerstange FHB II-A S ist sowohl für die Verwendung mit Patrone als auch mit Injektionsmörtel zugelassen. Das garantiert maximale Flexibilität in der Anwendung.Der FHB II-A S ist ein kraftkontrolliert spreizender Verbundanker für die Vorsteck- und Durchsteckmontage.Beim FHB II-A S ist der Bohrdurchmesser gleich dem Gewindedurchmesser, ähnlich einem Bolzenanker.Die Ankerstange kann wahlweise mit Highbond-Spezialmörtel FIS HB oder Patrone FHB II-P / FHB II-PF HIGH SPEED gesetzt werden und wird vollflächig im Bohrloch verklebt.Beim Anziehen der Sechskantmutter werden die Konen der Ankerstangen in die Mörtelschale gezogen, die sich gegen die Bohrlochwand verspannt.Bei Verwendung der Mörtelpatrone wird die Ankerstange mit einem Bohrhammer drehend-schlagend gesetzt. Dazu das Setzwerkzeug RA-SDS, Art. Nr. 62420, verwenden.geeignet fürZugelassen für:Beton C20/25 bis C50/60, gerissen und ungerissenBeton C12/15AnwendungGeeignet für:FassadenTreppenStahlkonsolenMastenRammschutzStahlbaukonstruktionenHolzbaukonstruktionen Optimal geeignet für:Durchsteckmontage

Inhalt: 10 Pack (12,20 €* / 1 Pack)

Varianten ab 0,00 €*
121,95 €*
fischer Dynamikset M12
Dynamikset als Systemkomponente bei dynamisch beanspruchten Befestigungen.
3 Varianten verfügbar
Das fischer Dynamikset ist die universelle Systemkomponente für dynamische Belastungen. Durch die im Set enthaltene Verfüllscheibe wird eine lückenlose Verfüllung des Ringspaltes ermöglicht und somit eine sichere Lastübertragung gewährleistet. Das Set kann in Vor- und Durchsteckmontage genutzt werden.fischer Dynamikset zur Nutzung als Systemkomponente bei dynamisch beanspruchten Befestigungen.Das Set kann in Vor- und Durchsteckmontage genutzt werden.G9fischer Dynamikset zur Nutzung als Systemkomponente bei dynamisch beanspruchten Befestigungen.geeignet fürAnwendungFührungsschienen von AufzügenPumpenVerkehrsschilderFörderbänderWerbeschilderIndustrieroboter

Inhalt: 10 Pack (4,40 €* / 1 Pack)

Varianten ab 38,28 €*
43,98 €*
fischer Bolzenanker FBN II 12/80 mit großer Scheibe
Die wirtschaftliche Befestigung mit großer Unterlegscheibe für den flexiblen Einsatz in ungerissenem Beton.
18 Varianten verfügbar
Der fischer Bolzenanker FBN II GS mit großer Unterlegscheibe ist ein Stahlanker für wirtschaftliche Befestigungen in ungerissenem Beton. Mit der vormontierten großen Unterlegscheibe ist der Stahlanker aus galvanisch verzinktem Stahl für die Befestigung von Auflagerbalken und Schwellen sowie anderen Holzkonstruktionen zu empfehlen. Dank des langen Gewindes und der zwei Verankerungstiefen ist der fischer Bolzenanker FBN II besonders flexibel einzusetzen. Neben der Vorsteck- und der Durchsteckmontage ist der Bolzenanker auch für die Abstandsmontage geeignet.Die große Unterlegscheibe erhöht die Auflagefläche. Ideal für die Befestigung von Holzkonstruktionen.Vormontierte Unterlegscheibe spart Zeit bei Montage.Mit der Standardverankerungstiefe erreicht der FBN II höchste Tragfähigkeit. Das bedeutet: weniger Befestigungspunkte und kleinere Ankerplatten.Wird die reduzierte Verankerungstiefe genutzt, verringert das die Bohrlochtiefe und vereinfacht die Montage.Mit dem langen Gewinde werden Bauteiltoleranzen ausgeglichen. Zudem ist der FBN II für Abstandsmontagen geeignet. Dies erhöht die Flexibilität.G9Die größere Unterlegscheibe beim FBN II GS sorgt für eine große Auflagefläche und ermöglicht so die Befestigung von Holzkonstruktionen.Die vormontierte Unterlegscheibe sorgt für einen schnellen Montagefortschritt.Die Standardverankerungstiefe erreicht höchste Tragfähigkeiten. Dadurch werden weniger Befestigungspunkte und kleinere Ankerplatten benötigt.Zudem ist der Anker sehr gut für große Anbauteildicken geeignet.Das lange Gewinde ermöglicht den Ausgleich von Bauteiltoleranzen und Abstandsmontagen und erhöht so die Flexibilität.Wenige Hammerschläge und der minimale Anzugsschlupf sorgen für eine spürbar einfache Montage.Der Einschlagzapfen schützt das Gewinde vor Beschädigungen und sorgt so für ein zeitsparendes Montieren und Demontieren des Anbauteils.Der FBN II GS ist geeignet für die Vor- und Durchsteckmontage. Bedingt auch für die Abstandsmontage.Vor der Montage die Sechskant-Mutter in die optimale Position bringen. (Der Einschlagzapfen steht ca. 3 mm aus der Sechskant-Mutter hervor).Beim Aufbringen des Drehmoments wird der Konusbolzen in den Spreizclip gezogen und verspannt diesen gegen die Bohrlochwand.Die Kopfprägung ermöglicht eine einfache Kontrolle der Verankerung.Bei Serienmontage empfehlen wir die Verwendung des Bolzenanker- Setzwerkzeugs FABS.geeignet fürZugelassen für:Beton C20/25 bis C50/60, ungerissenBeton C12/15Naturstein mit dichtem GefügeAnwendungAnkerplatten mit LanglöchernFassaden-Unterkonstruktionen mit LanglöchernHolzkonstruktionenZugankerBalkenverankerungen

Inhalt: 10 Pack (0,00 €* / 1 Pack)

0,00 €*
fischer Hochleistungsanker FH II 24/25 S R mit Sechskantkopf nicht rostender Stahl
Der Durchsteckanker für Befestigungen aus nicht rostendem Stahl mit anspruchsvollem Design in gerissenem Beton.
8 Varianten verfügbar
Der fischer Hochleistungsanker FH II S mit Sechskantkopf ist ein Hülsenanker aus nicht rostendem Stahl. Der Anker wird in der zeitsparenden Durchsteckmontage gesetzt. Beim Anziehen des Ankers wird der Konus in die Spreizhülse gezogen und verspannt diese gegen die Bohrlochwand. Der schwarze Kunststoffring verhindert, dass sich der Anker mitdreht, und nimmt den Anzugsschlupf auf. Das Anbauteil wird dadurch an den Verankerungsgrund gezogen. Der fischer Hochleistungsanker FH II S mit Sechskantkopf ist bestens geeignet, um in gerissenem und ungerissenem Beton Konsolen, Stahlkonstruktionen und Geländer im Außenbereich zu befestigen.Aus nicht rostendem Stahl für Befestigungen im Außenbereich.Die internationalen Zulassungen garantieren maximale Sicherheit und höchste Leistungsfähigkeit. Auch bei Anwendungen in Erdbebengebieten (Seismik C1 und C2).Das ideale Zusammenwirken von Schraubenschaft und Hülse ermöglicht eine hohe Quertragfähigkeit und weniger Befestigungspunkte.Die optimierte Geometrie reduziert intelligent die Setzenergie und sorgt so für eine kräfteschonende Montage.G9Die internationalen Zulassungen garantieren maximale Sicherheit und höchste Leistungsfähigkeit. Auch Anwendungen in Erdbebengebieten (Seismik C1 und C2) sind durch diese Zulassungen abgedeckt.Der geringe Überstand des Schraubenkopfes sorgt für eine dezente Befestigung.Das ideale Zusammenwirken von Schraubenschaft und Hülse ermöglicht eine hohe Quertragfähigkeit. Dadurch sind weniger Befestigungspunkte nötig.Die optimierte Geometrie reduziert intelligent die Setzenergie und sorgt so für eine kräfteschonende Montage.In der Zulassung ist die Verwendung von Hohlbohrern geregelt.Der FH II ist geeignet für die Durchsteckmontage.Beim Aufbringen des Drehmoments wird der Konus in die Spreizhülse gezogen und verspannt diese gegen die Bohrlochwand.Der schwarze Kunststoffring verhindert beim Anziehen des Ankers ein Mitdrehen und nimmt den Anzugsschlupf wie eine Knautschzone auf, so dass das Anbauteil an den Verankerungsgrund herangezogen wird.Erhältliche Kopfformen für flexible Gestaltungsmöglichkeiten: Senkkopf (Typ SK) und Sechskantkopf (Typ S).geeignet fürZugelassen für:Beton C20/25 bis C50/60, gerissen und ungerissenAnwendungGeländerTreppenKonsolenStahlkonstruktionenKabeltrassenMaschinenToreFassaden

Inhalt: 8 Pack (47,53 €* / 1 Pack)

Varianten ab 215,27 €*
380,20 €*
fischer Porenbetonanker FPX M6 I
Der starke Innengewindeanker mit einzigartiger 4-fach-Spreizung für Befestigungen in Porenbeton.
8 Varianten verfügbar
Der fischer Porenbetonanker FPX-I wird aus galvanisch verzinktem Stahl hergestellt. Nach dem Vorbohren wird der FPX-I nur mit dem Hammer eingeschlagen. Eine Bohrlochreinigung ist nicht notwendig. Der fischer Porenbetonanker wird mit einem Sechskantschlüssel mittels Akku-Schrauber oder einer Ratsche angezogen. Dadurch wird der Konus in die Spreizhülse eingezogen. Dabei erzeugen die vier Flügel einen Hinterschnitt im Bohrloch. Nach der Verspreizung wird der Sechskantschlüssel automatisch ausgeklinkt. Der fischer Porenbetonanker FPX-I ist ideal geeignet für die Befestigung von abgehängten Decken, Geländern oder Küchenschränken in Porenbeton.Der erste zugelassene Metallanker für Porenbeton.Hohe Tragfähigkeit: Spreizflügel erstellen Hinterschnitt. Dies spart Befestigungspunkte.Einfache und kräfteschonende Montage ohne zusätzliches Setzwerkzeug.Kein Mitdrehen des Ankers.Automatische Setzkontrolle garantiert maximale Sicherheit.G9Der FPX-I erlaubt ein einfaches Anziehen über einen Sechskantschlüssel mittels Akkuschrauber oder Ratsche und bietet so höchsten Montagekomfort.Das wegkontrollierte Verspreizen des Ankers mit dem Innensechskant sorgt für eine sichere, gleichmäßige und kräfteschonende Montage.Die einzigartige 4-fach-Spreizung des FPX-I mittels Vierkant-Spreizhülse verhindert ein Mitdrehen des Ankers im Bohrloch, gewährleistet hohe Zug- und Querlasten und steht somit für weniger Befestigungspunkte.Das Ausklinken des Sechskantschlüssels garantiert eine automatische Setzkontrolle bei jedem Setzvorgang.Der erste Stahlanker mit ETA-Zulassung und Brandschutz zur Befestigung in Porenbeton ermöglicht den Einsatz auch für sicherheitsrelevante Befestigungen.Der FPX-I mit Innengewinde ist geeignet für die Vorsteckmontage.Durch Vorbohren wird auch im hochfesten Porenbeton ein einfaches Einschlagen ermöglicht. Eine Bohrlochreinigung ist nicht erforderlich.Beim Anziehen des Ankers mit dem Sechskantschlüssel beginnt ein Drehen der Innengewindehülse, wodurch der Konus wegkontrolliert in die Vierkantspreizhülse gezogen wird. Dabei wird der Porenbeton an den vier Flügeln verdichtet und ein Hinterschnitt im Bohrloch erzeugt.Nach einer optimalen Verspreizung wird der Sechskantschlüssel automatisch aus dem Anker ausgeklinkt.geeignet fürZugelassen für:Porenbeton der Druckfestigkeitsklasse 2 bis 7 N/mm²Porenbetonwand- und -deckenplatten der Druckfestigkeit 3.3 bis 4.4 N/mm²Beplanktes Porenbetonmauerwerk, z.B. verputzt, gefliest, tapeziert etc.AnwendungAbgehängte DeckenKabeltrassenRohrleitungenLüftungskanäleGeländer / HandläufeTV-KonsolenKüchenschränkeAbstandsmontagen

Inhalt: 25 Pack (2,50 €* / 1 Pack)

Varianten ab 0,00 €*
62,58 €*
fischer Bolzenanker FBN II 6/10 R nicht rostender Stahl
Die wirtschaftliche Befestigung aus nicht rostendem Stahl für ungerissenen Beton.
25 Varianten verfügbar
Der fischer Bolzenanker FBN II ist ein Stahlanker für wirtschaftliche Befestigungen in ungerissenem Beton. Dank des langen Gewindes und der zwei Verankerungstiefen ist der fischer Bolzenanker FBN II besonders flexibel einzusetzen. Neben der Vorsteck- und der Durchsteckmontage ist der Bolzenanker auch für die Abstandsmontage geeignet. In der Ausführung aus nicht rostendem Stahl ist der Bolzenanker für Fassadenunterkonstruktionen, Konsolen und Leitern im Außenbereich geeignet.Mit der Standardverankerungstiefe erreicht der FBN II höchste Tragfähigkeit. Das bedeutet: weniger Befestigungspunkte und kleinere Ankerplatten.Wird die reduzierte Verankerungstiefe genutzt, verringert das die Bohrlochtiefe und vereinfacht die Montage.Mit dem langen Gewinde werden Bauteiltoleranzen ausgeglichen. Zudem ist der FBN II für Abstandsmontagen geeignet. Dies erhöht die Flexibilität.Einfache Montage durch wenige Hammerschläge und minimalen Schlupf.Nicht rostender Stahl: dauerhafte Sicherheit im Außenbereich.G9Die Standardverankerungstiefe erreicht höchste Tragfähigkeiten. Dadurch werden weniger Befestigungspunkte und kleinere Ankerplatten benötigt.Die reduzierte Verankerungstiefe verringert die Bohrlochtiefe. Dies vermindert den Montageaufwand und erhöht die Flexibilität.Das lange Gewinde ermöglicht den Ausgleich von Bauteiltoleranzen und Abstandsmontagen und erhöht so die Flexibilität.Wenige Hammerschläge und der minimale Anzugsschlupf sorgen für eine spürbar einfache Montage.Der Einschlagzapfen schützt das Gewinde vor Beschädigungen und sorgt so für ein zeitsparendes Montieren und Demontieren des Anbauteils.Der FBN II ist geeignet für die Vor- und Durchsteckmontage. Bedingt auch für die Abstandsmontage.Vor der Montage die Sechskant-Mutter in die optimale Position bringen. (Der Einschlagzapfen steht ca. 3 mm aus der Sechskant-Mutter hervor).Beim Aufbringen des Drehmoments wird der Konusbolzen in den Spreizclip gezogen und verspannt diesen gegen die Bohrlochwand.Die Kopfprägung ermöglicht eine einfache Kontrolle der Verankerung.Bei Serienmontage empfehlen wir die Verwendung des Bolzenanker-Setzwerkzeugs FABS.geeignet fürZugelassen für:Beton C20/25 bis C50/60, ungerissenBeton C12/15Naturstein mit dichtem GefügeAnwendungStahlkonstruktionenGeländerKonsolenLeiternMaschinenToreFassaden

Inhalt: 10 Pack (26,99 €* / 1 Pack)

Varianten ab 74,21 €*
269,89 €*
fischer Hammerkopfschraube FBC-S-29/20-M12x60-8.8--HDG, feuerverzinkter Stahl
Verzahnte Hammerkopfschraube für optimale Festigkeit und Sicherheit.
6 Varianten verfügbar
Verzahnte Hammerkopfschrauben, welche mit der passenden verzahnten Ankerschiene einen sauberen Formschluss bilden.Nur für warmgewalzte Profile mit Verzahnung.Tragfähigkeit in alle Richtungen.Beste Tragfähigkeit in Schienenlängsrichtung.Markierung an der Bolzenspitze mit zwei versetzten Schlitzen.Festigkeitsklasse: 8.8.G9FBC-S Anker mit gezahnter Unterseite formschlüssig zu den gezahnten Lippen der Schiene.Dadurch wird eine optimale Tragfähigkeit bei hoher Sicherheit erzielt.Tragfähigkeit in alle Richtungen.Plus optimale Tragfähigkeit in Längsrichtung in Kombination mit FES-H-S durch die Vollverzahnung des Systems.Ideale vorpositionierte Befestigungslösung, die bauseitige Toleranzen abdeckt.Geeignet für Anwendungen in gerissenem und ungerissenem Beton.Dauerhaft justierbare Befestigungslösung.FBC-S Hammerkopfschrauben können variabel in der geplanten Position der eingegossenen Ankerschiene eingestellt werdenDie Fixierung erfolgt durch einfaches Drehen um 90° im Uhrzeigersinn und anschließendem Aufbringen des vorgeschriebenen Drehmoment.Geeignet für die Verwendung in Kombination mit warmgewalzten und gezahnten Ankerschienen fischer FES-H-S.geeignet fürBeton C12/15 bis C90/105, gerissen und ungerissenAnwendungGeeignet für alle Arten von Gebäuden oder StrukturenFassadenVorgefertigte ElementeEisenbahnenU-Bahn-Tunnel und BahnhöfeIndustrielle Anwendungen

Inhalt: 50 Pack (2,29 €* / 1 Pack)

Varianten ab 103,54 €*
114,64 €*
Schraubenbolzen DIN 2510 m.Dehnschaft/2Muttern Mu 1.7709 1 Stück
Schraubenbolzen DIN 2510 Dehnschaft/2Muttern LM 20x 110 Mu 1.7709 1 Stück
74 Varianten verfügbar
DIN 2510 Mu 1.7709 Form L AD W7 Schraubenbolzen mit Dehnschaft · mit langem Gewinde · mit 2 Muttern - Abmessung: LM 16 x 75 VE=S (1 Stück) Weitere technische Eigenschaften: · Gruppencode: 02510.304

Varianten ab 3,86 €*
9,62 €*
Schraubanker R 88902 MMSplus-SS Stahl gehärtet galvanisch verzinkt HECO
Schraubanker R 88902 MMSplus-SS 7,5x50/15 Stahl gehärtet galv.verz. 50St. HECO
27 Varianten verfügbar
Artikel 88902 Stahl gehärtet MMSplus-SS galvanisch verzinkt MULTI-MONTI Schraubanker MMSplus-SS Sechskantkopf mit angepresster Scheibe - Abmessung: 7,5 x 50 VE=S (50 Stück) Weitere technische Eigenschaften: · Werkstoff: Stahl gehärtet · Durchmesser: 7,5mm · Gruppencode: 88902.012 · Norm: REYHER-Artikel 88902 · Produkt-Typbezeichnung: MULTI-MONTI Schraubanker MMSplus-SS, SS = Sechskantkopf mit angepresster Scheibe

Varianten ab 0,29 €*
0,39 €*